文章目录
grep、sed和awk都是文本处理工具,虽然都是文本处理工具单却都有各自的优缺点。在接下来的内容中,将会详细介绍三种命令的使用。
- 一、grep的使用
- 二、sed的使用
- 三、awk的使用
- grep:grep (global search regular expression(RE) and print out the line,全面搜索正则表达式并把行打印出来)是一种强大的文本搜索工具,它能使用正则表达式搜索文本,并把匹配的行打印出来。文本过滤器,如果仅仅是过滤文本,可使用grep,其效率比其他的高很多,(过滤文本)。
- sed:可以按行处理数据。
- awk:报告生成器,格式化以后显示。如果对处理的数据需要生成报告之类的信息,或者你处理的数据是按列进行处理的,最好使用awk。(处理列)
grep可以用于搜索文件中特定模式的子串,命令的标准使用格式为:
grep [option] “string_to_find” filename
其中option中的常用的命令为:
- 搜索以we开头的行:
grep “^we” test0.txt
运行结果为(其中^表示开头):
- 搜索不以we开头的字符串
grep -v “^we” test0.txt
-
统计匹配成功的行数
-
匹配 以we开头的行,并显示行号
-
统计匹配成功的次数
-
其中源文件为
sed 【options】 ‘【command】’ 【filename】
其中option中的常用的命令为: 其中command中的常用的命令为:
- 我对文件name.txt操作,源文件内容如下所示:
- 对源文件中的23替换为000
sed -i ‘s/23/000/g’ name.txt
- 在文件的行首添加id
sed -i ‘s/^/&id /g’ name.txt
其中s表示在全文档中寻找,^表示行首位置,代码运行结果为:
AWK是一种处理文本文件的语言,是一个强大的文本分析工具。 之所以叫AWK是因为其取了三位创始人 Alfred Aho,Peter Weinberger, 和 Brian Kernighan 的 Family Name 的首字符。
- awk使用标准格式
awk 选项参数 ‘{pattern + action}’ {filenames}
源文件如下:
- 取出文件某一列
- 格式化输出
- 使用正则取出含有字母e的第一列以及第二列
- awk内部使用if语句
- awk中使用循环
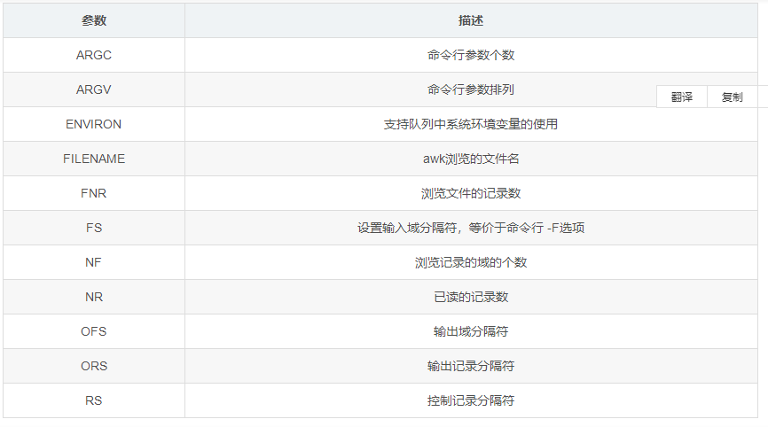
awk具有丰富的内置变量可以使用
