在多线程并发编程中synchronized和volatile都扮演着重要的角色,Volatile是轻量级的同步机制 是一个可以保证线程安全的关键字。它在并发编程中保证了共享变量的“可见性”。
可见性的意思是当一个线程修改一个共享变量时,另外一个线程能读到这个修改的值。
如果volatile变量修饰符使用恰当的话,它比synchronized的使用和执行成本更低,因为它不会引起线程上下文的切换和调度。
volatile的内存语义即 Volatile如何保证内存可见性:
当写一个volatile变量时,JMM会把该线程对应的本地内存中的共享变量值立即刷新回主内存中。
当读一个volatile变量时,JMM会把该线程对应的本地内存设置为无效,直接从主内存中读取共享变量
所以volatile的写内存语义是直接刷新到主内存中,读的内存语义是直接从主内存中读取。
volatile的两条实现原则
**如果对声明了volatile的变量进行写操作,JVM就会向这个写线程发送一条Lock前缀的指令,将这个变量所在本地内存的数据写回到主内存。**但是,就算写回到主内存,如果其他线程本地内存的值还是旧的,再执行计算操作就会有问题。
所以,在多线程场景下,为了保证各个线程的缓存是一致的,就会实现缓存一致性协议,每个线程通过嗅探在总线上传播的数据来检查自己缓存的值是不是过期了,当线程发现自己缓存的值对应的主内存的值被修改,就会将当前线程缓存的值设置成无效状态,当线程对这个数据进行修改操作的时候,会重新从系统主内存中把数据读到本地内存里。
如果对声明了volatile的变量进行写操作,会锁定这块本地内存的缓存并回写到主内存,并使用缓存一致性机制来确保修改的原子性,此操作被称为“缓存锁定”,缓存一致性机制会阻止同时修改由两个以上线程缓存的本地内存数据。
如果一个线程通过嗅探技术检测到其他线程打算写主内存,那么正在嗅探的线程就会将当前线程缓存的值设置成无效状态,当线程对这个数据进行修改操作的时候,会重新从系统主内存中把数据读到本地内存 里。
什么是内存屏障:内存屏障(也称内存栅栏,内存栅障,屏障指令等,是一类同步屏障指令,是CPU或编译器在对内存随机访问的操作中的一个同步点,使得此点之前的所有读写操作都执行后才可以开始执行此点之后的操作),避免代码重排序。
内存屏障其实就是一种JVM指令,Java内存模型的重排规则会要求Java编译器在生成JVM指令时插入特定的内存屏障指令,通过这些内存屏障指令,volatile实现了Java内存模型中的可见性和有序性,但volatile无法保证原子性。
内存屏障之前的所有写操作都要回写到主内存, 内存屏障之后的所有读操作都能获得内存屏障之前的所有写操作的最新结果(实现了可见性)。
因此重排序时,不允许把内存屏障之后的指令重排序到内存屏障之前。 一句话:对一个 volatile 域的写, happens-before 于任意后续对这个 volatile 域的读,也叫写后读。
volatile凭什么可以保证可见性和有序性???内存屏障 (Memory Barriers / Fences)
阻止屏障两边的指令重排序
写数据时加入屏障,强制将线程私有工作内存的数据刷回主物理内存
读数据时加入屏障,线程私有工作内存的数据失效,重新到主物理内存中获取最新数据
为了实现volatile的内存语义,编译器在生成字节码时,会在指令序列中插入内存屏障来禁止特定类型的处理器重排序。对于编译器来说,发现一个最优布置来最小化插入屏障的总数几乎不可能。为此,JMM采取保守策略。下面是基于保守策略的JMM内存屏障插入策略。 ·在每个volatile写操作的前面插入一个StoreStore屏障。 ·在每个volatile写操作的后面插入一个StoreLoad屏障。 ·在每个volatile读操作的后面插入一个LoadLoad屏障。 ·在每个volatile读操作的后面插入一个LoadStore屏障。 上述内存屏障插入策略非常保守,但它可以保证在任意处理器平台,任意的程序中都能得到正确的volatile内存语义
JVM中提供了四类内存屏障指令 C++源码分析IDEA工具里面找Unsafe.class
OpenJDK中 Unsafe.java
Unsafe.cpp
这三个方法分别调用OrderAccess的 三个方法
OrderAccess.hpp
四个内存屏障指令就分别对应这四个方法
orderAccess_linux_x86.inline.hpp
这四个内存屏障指令其实调用的就是刚才所看到的OrderAccess中的三个方法
这三个方法涉及到 asm 汇编语言,就不再深究了。
当第一个操作为volatile读时,不论第二个操作是什么,都不能重排序。这个操作保证了volatile读之后的操作不会被重排到volatile读之前。 当第二个操作为volatile写时,不论第一个操作是什么,都不能重排序。这个操作保证了volatile写之前的操作不会被重排到volatile写之后。 当第一个操作为volatile写时,第二个操作为volatile读时,不能重排。
JMM 就将内存屏障插⼊策略分为 4 种-
在每个 volatile 写操作的前⾯插⼊⼀个 StoreStore 屏障
-
在每个 volatile 写操作的后⾯插⼊⼀个 StoreLoad 屏障
-
在每个 volatile 读操作的后⾯插⼊⼀个 LoadLoad 屏障
-
在每个 volatile 读操作的后⾯插⼊⼀个 LoadStore 屏障
当某个字段加上volatile时,字节码中对应的Field的flags就会添加一个ACC_VOLATILE
当JVM将字节码生成为机器码的时候,发现操作是volatile的变量的话,就会根据JMM要求,在相应的位置去插入内存屏障指令
当一个变量定义为 volatile 之后,将具备两种特性:
volatile可见性:对一个volatile 的读,总可以看到对这个变量最终的写。
禁止指令重排序(有序性):JVM 底层采用“内存屏障”来实现 volatile 语义,对volatile修饰的成员变量进行读写时,会插入内存屏障,而内存屏障可以达到禁止重排序的效果,从而保证有序性
但是不保证原子性
保证可见性保证不同线程对这个变量进行操作时的可见性,即变量一旦改变所有线程立即可见
不加volatile,没有可见性,程序无法停止
加了volatile,保证可见性,程序可以停止
package com.dongguo.juc;
import java.util.concurrent.TimeUnit;
/**
* @author Dongguo
* @date 2021/9/6 0006-23:02
* @description:
*/
public class VolatileSeeDemo {
static boolean flag = true; //不加volatile,没有可见性
//static volatile boolean flag = true; //加了volatile,保证可见性
public static void main(String[] args) {
new Thread(() -> {
System.out.println(Thread.currentThread().getName() + "\t come in");
while (flag) {
//死循环
}
System.out.println(Thread.currentThread().getName() + "\t flag被修改为false,退出.....");
}, "t1").start();
//暂停2秒钟后让main线程修改flag值
try {
TimeUnit.SECONDS.sleep(2);
} catch (InterruptedException e) {
e.printStackTrace();
}
flag = false;
System.out.println("main线程修改完成");
}
}
运行是无法停止的
线程t1 将flag= true 从主内存中读取到本地内存 执行while(true)
主线程 将自己本地内存的running true改为false
线程t1 是无法感知到的
加上volatile 能够停止 保证了线程可见性
package com.dongguo.juc;
import java.util.concurrent.TimeUnit;
/**
* @author Dongguo
* @date 2021/9/6 0006-23:02
* @description:
*/
public class VolatileSeeDemo {
// static boolean flag = true; //不加volatile,没有可见性
static volatile boolean flag = true; //加了volatile,保证可见性
public static void main(String[] args) {
new Thread(() -> {
System.out.println(Thread.currentThread().getName() + "\t come in");
while (flag) {
//死循环
}
System.out.println(Thread.currentThread().getName() + "\t flag被修改为false,退出.....");
}, "t1").start();
//暂停2秒钟后让main线程修改flag值
try {
TimeUnit.SECONDS.sleep(2);
} catch (InterruptedException e) {
e.printStackTrace();
}
flag = false;
System.out.println("main线程修改完成");
}
}
运行结果
t1 come in
main线程修改完成
t1 flag被修改为false,退出.....
线程t1中为何看不到被主线程main修改为false的flag的值?
问题:
- 主线程修改了flag之后没有及时将其刷新到主内存,所以t1线程看不到。
- 因为t1线程需要频繁从主内存中读取flag的值,JIT编译器就会将flag的值缓存到自己工作内存的高速缓存中,以减少对主内存中flag的访问,以提高效率。主线程将flag刷新到了主内存,但是t1一直读取的是自己工作内存中flag的值,没有去主内存中更新获取flag最新的值。
我们的诉求: 1.线程中修改了工作内存中的副本之后,立即将其刷新到主内存; 2.工作内存中每次读取共享变量时,都去主内存中重新读取,然后拷贝到工作内存。
解决: 使用volatile修饰共享变量,就可以达到上面的效果,被volatile修改的变量有以下特点:
- 线程中读取的时候,每次读取都会去主内存中读取共享变量最新的值,然后将其复制到工作内存
- 线程中修改了工作内存中变量的副本,修改之后会立即刷新到主内存
当然加同步锁也是可以 不过对有个共享变量的操作推荐使用volatile
Java内存模型中定义的8种工作内存与主内存之间的原子操作 read(读取)→load(加载)→use(使用)→assign(赋值)→store(存储)→write(写入)→lock(锁定)→unlock(解锁)
read: 作用于主内存,将变量的值从主内存传输到工作内存,主内存到工作内存 load: 作用于工作内存,将read从主内存传输的变量值放入工作内存变量副本中,即数据加载 use: 作用于工作内存,将工作内存变量副本的值传递给执行引擎,每当JVM遇到需要该变量的字节码指令时会执行该操作 assign: 作用于工作内存,将从执行引擎接收到的值赋值给工作内存变量,每当JVM遇到一个给变量赋值字节码指令时会执行该操作 store: 作用于工作内存,将赋值完毕的工作变量的值写回给主内存 write: 作用于主内存,将store传输过来的变量值赋值给主内存中的变量 由于上述只能保证单条指令的原子性,针对多条指令的组合性原子保证,没有大面积加锁,所以,JVM提供了另外两个原子指令: lock: 作用于主内存,将一个变量标记为一个线程独占的状态,只是写时候加锁,就只是锁了写变量的过程。 unlock: 作用于主内存,把一个处于锁定状态的变量释放,然后才能被其他线程占用
没有原子性volatile变量的复合操作(如i++)不具有原子性
package com.dongguo.juc;
import java.util.concurrent.TimeUnit;
/**
* @author Dongguo
* @date 2021/9/6 0006-23:14
* @description:
*/
class MyNumber
{
volatile int number = 0;
public void addPlusPlus()
{
number++;
}
}
public class VolatileNoAtomicDemo
{
public static void main(String[] args) throws InterruptedException
{
MyNumber myNumber = new MyNumber();
for (int i = 1; i {
for (int j = 1; j 重排序OK 。 重排前 重排后 int a = 1; //1 int b = 20; //2 int c = a + b; //3
int b = 20; //1 int a = 1; //2 int c = a + b; //3 结论:编译器调整了语句的顺序,但是不影响程序的最终结果。 重排序OK
存在数据依赖关系,禁止重排序===> 重排序发生,会导致程序运行结果不同。 编译器和处理器在重排序时,会遵守数据依赖性,不会改变存在依赖关系的两个操作的执行,但不同处理器和不同线程之间的数据性不会被编译器和处理器考虑,其只会作用于单处理器和单线程环境,下面三种情况,只要重排序两个操作的执行顺序,程序的执行结果就会被改变。
![image-20210907071417172]()
volatile的底层实现是通过内存屏障
见JMM四种内存屏障
在每一个volatile写操作前面插入一个StoreStore屏障
StoreStore屏障可以保证在volatile写之前,其前面的所有普通写操作都已经刷新到主内存中。
在每一个volatile写操作后面插入一个StoreLoad屏障
StoreLoad屏障的作用是避免volatile写与后面可能有的volatile读/写操作重排序
在每一个volatile读操作后面插入一个LoadLoad屏障
LoadLoad屏障用来禁止处理器把上面的volatile读与下面的普通读重排序。
在每一个volatile读操作后面插入一个LoadStore屏障
LoadStore屏障用来禁止处理器把上面的volatile读与下面的普通写重排序。
//模拟一个单线程,什么顺序读?什么顺序写?
public class VolatileTest {
int i = 0;
volatile boolean flag = false;
public void write(){
i = 2;
flag = true;
}
public void read(){
if(flag){
System.out.println("---i = " + i);
}
}
}
![image-20210907072539743]()
![image-20210907081557871]()
![image-20210907081608091]()
使用场景
1单一赋值可以,but含复合运算赋值不可以(i++之类)
volatile int a = 10
volatile boolean flag = false
2状态标记变量,判断业务是否结束
package com.dongguo.juc.prepare;
import java.util.concurrent.TimeUnit;
/**
*
* 使用:作为一个布尔状态标志,用于指示发生了一个重要的一次性事件,例如完成初始化或任务结束
* 理由:状态标志并不依赖于程序内任何其他状态,且通常只有一种状态转换
* 例子:判断业务是否结束
*/
public class UseVolatileDemo
{
private volatile static boolean flag = true;
public static void main(String[] args)
{
new Thread(() -> {
while(flag) {
//do something......
}
},"t1").start();
//暂停几秒钟线程
try { TimeUnit.SECONDS.sleep(2L); } catch (InterruptedException e) { e.printStackTrace(); }
new Thread(() -> {
flag = false;
},"t2").start();
}
}
3开销较低的读,写锁策略 读多写少的场景
public class UseVolatileDemo
{
/**
* 使用:当读远多于写,结合使用内部锁和 volatile 变量来减少同步的开销
* 理由:利用volatile保证读取操作的可见性;利用synchronized保证复合操作的原子性
*/
public class Counter
{
private volatile int value;
public int getValue()
{
return value; //利用volatile保证读取操作的可见性
}
public synchronized int increment()
{
return value++; //利用synchronized保证复合操作的原子性
}
}
}
4、Double Check双重校验锁。(DCL)
double-checked locking 单例模式
package com.dongguo.concurrent;
import com.sun.xml.internal.bind.v2.model.core.ID;
/**
* @author Dongguo
* @date 2021/9/7 0007-7:38
* @description:
*/
public class DoubleCheckSingleton {
private /*volatile*/ static DoubleCheckSingleton singleton;
//私有化构造方法
private DoubleCheckSingleton() {
}
//双重锁设计
public static DoubleCheckSingleton getInstance() {
if (singleton == null) {
//1.多线程并发创建对象时,会通过加锁保证只有一个线程能创建对象
synchronized (DoubleCheckSingleton.class) {
if (singleton == null) {
//隐患:多线程环境下,由于重排序,该对象可能还未完成初始化就被其他线程读取
singleton = new DoubleCheckSingleton();
}
}
}
//2.对象创建完毕,执行getInstance()将不需要获取锁,直接返回创建对象
return singleton;
}
}
以上的实现特点是: 懒惰实例化 首次使用 getInstance() 才使用 synchronized 加锁,后续使用时无需加锁 有隐含的,但很关键的一点:第一个 if 使用了 singleton变量,是在同步块之外
Dcl双重校验锁。为什么要加volatile?
singleton = new DoubleCheckSingleton();
单线程环境下(或者说正常情况下),在"问题代码处",会执行如下操作,保证能获取到已完成初始化的实例
right
![image-20210907074628303]()
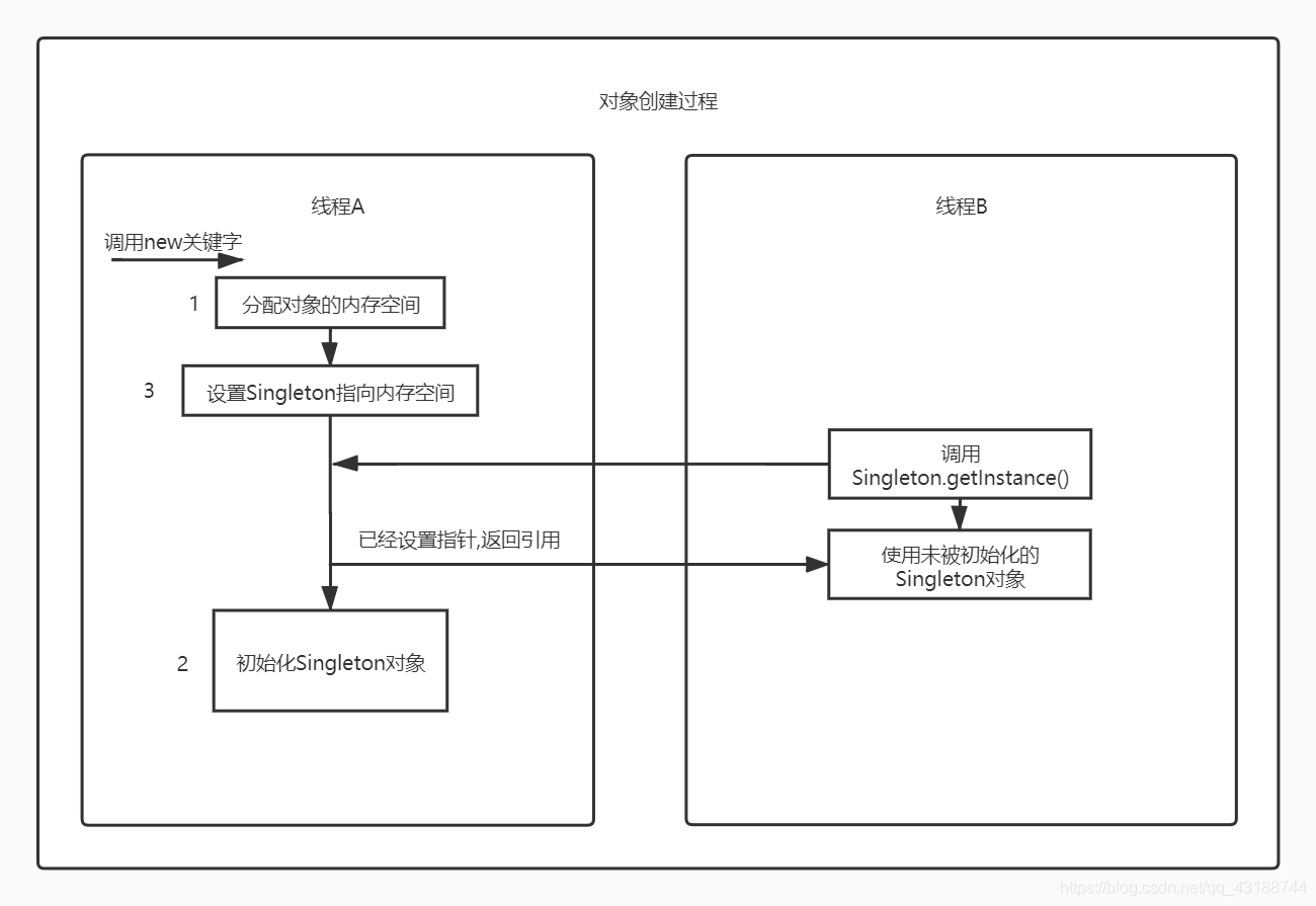
多线程环境下,在"问题代码处",会执行如下操作,由于重排序导致2,3乱序,后果就是其他线程得到的是未完全初始化的对象而不是完成初始化的对象
problem
![image-20210907074800543]()
![img]()
![image-20210910101101720]()
导致实际已经创建了单例对象 但返回的是未完全初始化对象
if (singleton == null) {
//1.多线程并发创建对象时,会通过加锁保证只有一个线程能创建对象
synchronized (DoubleCheckSingleton.class) {
if (singleton == null) {
//隐患:多线程环境下,由于重排序,该对象可能还未完成初始化就被其他线程读取
singleton = new DoubleCheckSingleton();
}
}
}
在判断singleton == null就是false了,别的线程就拿着未完全初始化的instance去操作业务,导致调用报错
因为是单例模式,所以之后所有的线程使用的都会是这个未完全初始化的对象
在知晓了问题发生的根源之后,我们可以想出两个办法来实现线程安全的延迟初始化。 1)不允许2和3重排序。 2)允许2和3重排序,但不允许其他线程“看到”这个重排序。
解决Dcl双重校验锁多线程问题
解决1加volatile修饰
package com.dongguo.concurrent;
import com.sun.xml.internal.bind.v2.model.core.ID;
/**
* @author Dongguo
* @date 2021/9/7 0007-7:38
* @description:
*/
public class DoubleCheckSingleton {
private volatile static DoubleCheckSingleton singleton;
//私有化构造方法
private DoubleCheckSingleton() {
}
//双重锁设计
public static DoubleCheckSingleton getInstance() {
if (singleton == null) {
//1.多线程并发创建对象时,会通过加锁保证只有一个线程能创建对象
synchronized (DoubleCheckSingleton.class) {
if (singleton == null) {
//隐患:多线程环境下,由于重排序,该对象可能还未完成初始化就被其他线程读取
singleton = new DoubleCheckSingleton();
}
}
}
//2.对象创建完毕,执行getInstance()将不需要获取锁,直接返回创建对象
return singleton;
}
}
![image-20210910101331979]()
这个方案本质上是通过禁止2和3之间的重排序,来保证线程安全的延迟初始 化
解决02采用静态内部类的方式实现
//现在比较好的做法就是采用静态内部内的方式实现
public class SingletonDemo
{
private SingletonDemo() { }
private static class SingletonDemoHandler
{
private static SingletonDemo instance = new SingletonDemo();
}
public static SingletonDemo getInstance()
{
return SingletonDemoHandler.instance;
}
}
![image-20210910101719243]()
