我在分享《发布系统一定要注意用户体验》这个主题时,介绍了从用户体验的角度出发,设计一套发布系统的设计理念,以及具体实现。但是,用户体验设计得再好,后端系统无法支持,也就如同巧妇难为无米之炊。
截止到目前,携程一共有 7000 多个应用,平均每周生产发布 8000 多次,而测试环境的发布平 均每周要 40000 多次,如果发布系统没有一个清晰的架构设计,完成这样艰巨的任务是难以想象的。
所以,今天我就从核心架构和功能设计的角度,和你聊聊如何设计一套发布系统。
发布系统架构作为整个持续交付体系中极为重要的一个环节,应用的发布是提升交付效率的关键。高效的发布系统架构应该是清晰的、健壮的、低耦合的,从而达到在最糟糕的情况下也能运作的目的。
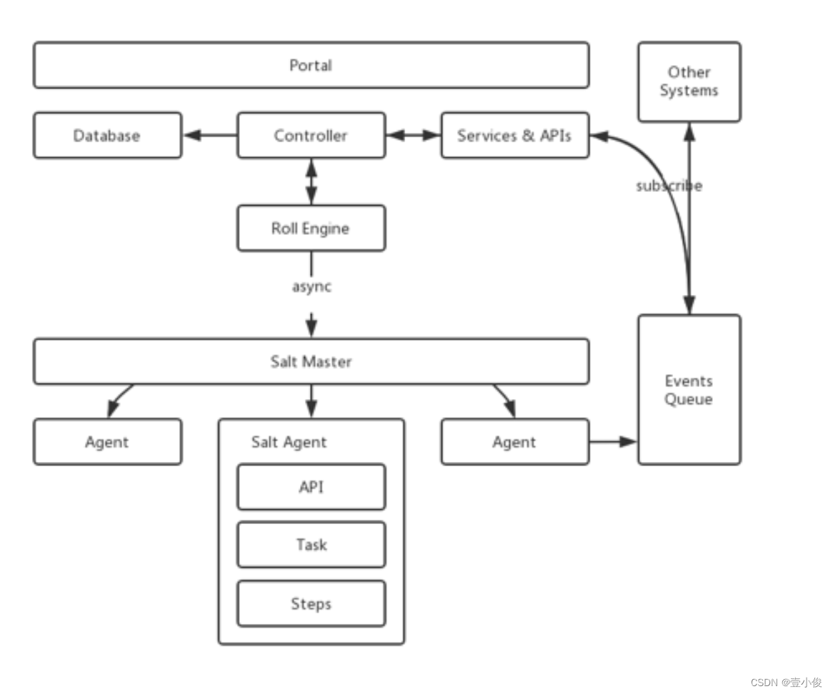
携程在发布系统这件事上也不是一蹴而就,在经历了各种尝试和努力后,最终设计出了一套分布 式、高可用、易扩展的发布系统,其系统架构如图 1 所示。
Roll Engine,即发布引擎,主要负责创建发布批次,按批次粒度实施部署策略,通过异步方式调用 Salt Master 服务,再分发到各个 Agent 节点上执行部署任务。真正的单机部署脚本会根 据不同的应用或机型进行分发和定制。而 Controller ,则作为接收外部指令和读写数据的控制 器。当然,对于一些对外的通知事务,发布系统会采用消息机制向外广播。
发布系统需要将发布相关的元数据信息(主要包括 App 应用、Group 集群、Server 服务器 等),从外部 CMDB 资产数据库落地到本地数据库,作为一层本地缓存。
数据更新的方式,主要有两种,一种是在每次发布前更新,另一种是通过消费通知消息进行更新,以保证发布元数据的准确性。
根据携程发布系统结构设计的经验,我总结了几个需要注意的点:
1. 每台服务实例上的发布脚本一旦产生则不再修改,以达到不可变模型的要求; 2. 发布引擎和 Salt Master 之间采用异步通信,但为增强系统健壮性,要有同步轮询的备案;
3. 面对频繁的信息获取,要善用缓存,但同时也一定要慎用缓存,注意发布信息的新鲜度。
发布系统核心模型发布系统的核心模型主要包括 Group、DeploymentConfig、Deployment、 DeploymentBatch,和 DeploymentTarget 这 5 项。
Group,即集群,一组相同应用的实例集合,是发布的最小单元,其概念如图 2 所示。
同时,Group 的属性非常重要,包括 Site 站点、Path 虚拟路径、docBase 物理路径、Port 应 用端口、HealthCheckUrl 健康检测地址等,这些属性都与部署逻辑息息相关。携程之所以这样 设计,是因为 group 这个对象直接表示一个应用的一组实例,这样既可以支持单机单应用的部 署架构,也可以支持单机多应用的情况。
DeploymentConfig,即发布配置,提供给用户的可修改配置项要通俗易懂,包括:单个批次 可拉出上限比、批次间等待时间、应用启动超时时间、是否忽略点火。
Deployment,即一个发布实体,主要包括 Group 集群、DeploymentConfig 发布配置、 Package 发布包、发布时间、批次、状态等等信息。
DeploymentBatch,即发布批次,通常发布系统选取一台服务器作为堡垒批次,集群里的其他 服务器会按照用户设置的单个批次可拉出上限比划分成多个批次,必须先完成堡垒批次的发布和 验证,才能继续其他批次的发布。
DeploymentTarget,即发布目标服务器或实例,它与该应用的 Server 列表中的对象为一对一 的关系,包括主机名、IP 地址、发布状态信息。
这里一定要注意,发布系统的对象模型和你所采用的部署架构有很大关系。 比如,携程发布系 统的设计中并没有 pool 这个对象,而很多其他企业却采用 pool 实现对实例的管理。又比如, 在针对 Kubernetes 时,我们也需要根据它的特性,针对性地处理 Set 对象等等。
发布流程及状态流转发布系统的主流程大致是:同一发布批次中,目标服务器并行发布;不同发布批次间则串行处理。每台目标服务器在发布流 程中的五个阶段包括 Markdown、Download、Install、Verify、Markup。
如图 3 描绘了具体的发布流程。
发布过程从技术实现上来说,就是通过状态机控制状态流转,而每个状态都对应一些具体的操作。
那么,我们就一起来看看整个状态流转如何通过状态机进行控制:
首先,借助于 Celery 分布式任务队列的 Chain 函数,发布系统将上述的 Markdown、 Download、Install、Verify、Markup 五个阶段定义为一个完整的链式任务工作流,保证一个 Chain 函数里的子任务会依次执行。
其次,每个子任务执行成功或失败,都会将 DeploymentTarget 设置为对应的发布状态。 例如,堡垒批次中的 DeploymentTarget 执行到 Verify 点火这个任务时,如果点火验证成功,那么 DeploymentTarget 会被置为 VERIFY_SUCCESS(点火成功)的状态,否则置为 VERIFY_FAILURE(点火失败)的状态。
发布过程中,如果有任意一台 DeploymentTarget 发布失败,都会被认为是发布局部失败,允 许用户重试发布。因此,重试发布只针对于有失败的服务器批次进行重试,对于该批次中已经发 布成功的服务器,发布系统会对比当前运行版本与发布目标版本是否一致,如果一致且点火验证 通过的话,则直接跳过。
这里需要注意的是, 堡垒批次不同于其他批次:堡垒批次中 DeploymentTarget 的 Chain 的 最后一个子任务是 Verify 点火,而不是 Markup。
再次,点火验证成功,DeploymentTarget 的状态流转到 VERIFY_SUCCESS 后,需要用户在发 布系统页面上触发 Baking 操作,即堡垒批次中 DeploymentTarget 的 Markup,此时执行的 是一个独立的任务事务,会将堡垒批次中的服务器拉入集群,接入生产流量。也就是说,这部分 是由用户触发而非自动拉入。BAKE_SUCCESS 堡垒拉入成功之后,就是其他批次的 RollingOut 事务了,这也是一个独立的任务,需要由用户触发其他批次开始发布的操作。
最后,设置发布批次。
除堡垒批次外,其他的机器会按照用户自主设置的最大拉出比来分批,每个批次间允许用户设置 等待时间,或者由用户手动执行启动下个批次发布的操作。从第 3 个批次起,允许用户设置较 短的或者不设置等待批次的间隔时间,以提高最后几个批次的速度,即尾单加速,这样可以提高 整个发布过程的效率。
携程的发布系统,利用了一个分布式异步任务框架来处理整个发布过程的事务,然后通过状态机 来控制这些任务的开始和停止。当然,由于我们使用 Python 语言,所以选择了 Celery 框架, 其他语言也有很多成熟的类似框架,也建议你在实施过程中,充分利用这些框架的优势。
刹车机制为了保证用户体验的顺畅和发布系统的高容错性,除堡垒批次外的每个发布批次均采用了 quick and dirty 的发布方式,即不管成功或失败,优先尝试把版本发布完,继续执行下个发布批次, 后续再解决个别目标服务器发布失败的问题。
试想在这种发布方式下,我们应该如何避免大面积的发布失败影响业务呢?
于是,我们需要为发布系统提供刹车机制,即在每个批次开始发布任务前,系统会根据用户设置 的单个批次可拉出上限比,进行失败率的计算与控制。发布时,一旦达到这个失败率,立即中断 当前发布,从而保护 Quick and Dirty 发布方式。
一旦刹车后,发布系统允许用户先执行重试发布操作,如果因为重试批次中的服务器失联或者其他外因导致重试无果,则用户需要终止当前发布,重新设置单个批次可拉出上限比,或者临时将服务器从各个负载均衡设备或访问入口中拉出(与发布拉出为独立的标志位),由此发布系统的分组策略会剔除被拉出的服务器,不再做发布。与此同时,用户可以同步进行失败服务器的下线或者更换操作,而不会阻塞发布。
提升发布速度从上面的发布过程中,你不难发现影响发布速度的步骤通常是下载和点火。
为了提高下载速度,携程在各个机房搭建了发布包专用的存储系统,实现了类似 CDN 的功能, 编译和打包系统在任何一个写入点写入发布包,都会尽快同步到各个 IDC 及各个独立存储中, 这样真正发布时,服务器只需从本 IDC 或本网段做下载。
对于点火,携程在框架层面统一提供了点火入口和常规的点火验证方法,收口了所有应用的点火验证规范和标准,容错性和速度都得到大幅提升。
而回滚方面,不再设置堡垒批次,发布系统默认提供了单个批次可拉出上限比为 50% 的配置, 即分两个批次执行回滚发布。这样可以追求最快的回滚速度。当然在日常发布过程中,比如扩容 发布,也可以不设置堡垒批次,但前提是待发布的版本已经被证明可以正确工作。
在单机部署逻辑上,发布系统在服务器本地保留了多个版本,在回滚发布时,可快速进行目录切换,进而直接省略了下载发布包的过程,最大限度地缩短应用的故障时间,提升回滚速度。
降级机制对外部系统的服务依赖,例如 LB 负载均衡服务的拉出或拉入调用,发布系统需要具备降级机 制,熔断外部系统依赖的能力,一旦发现外部服务不可用,可以及时处理,保证用户的紧急发布 需求。
对外部系统的元数据依赖,例如从 CMDB 同步 Group 信息的场景下,发布系统可以使用 Redis 锁合并重复的请求,提高同步数据的吞吐能力,以解决重试并发的问题。另外,由于发布 系统做了数据缓存,也就同时具备了一键降级 CMDB 等其他外部系统依赖的能力。
降级机制能够保证在突发异常情况下,发布系统可以解除所有外部依赖,独立完成任何发布应用的任务。也就是说,降级机制可以保证发布系统做到,只有部署包存在,就能恢复服务。
总结我今天分享的主题就是,从后端系统设计的角度,来看看一套发布系统的核心架构和功能应该如何设计。我以携程目前使用的发布系统为例,从发布系统的架构、核心模型、发布流程及状态流转三个方面,展开了今天的分享。
首先,高效的发布系统架构应该是清晰的、健壮的、低耦合的,携程在经历各种迭代后,采用了 以 Protal、Controller、Roll Engine、Salt Scripts 为核心的分层架构。
其次,在设计核心模型时,考虑到部署架构的个性化设计,即要兼容单机单应用,又要兼容单机 多应用的问题,携程的发布系统采用了以 Group 和 Deployment 为核心的主要对象模型设计 方案。这里你需要注意的是,发布系统的对象模型和你所采用的部署架构有很大关系,所以还是 要量体裁衣。
再次,关于发布系统的发布流程,可以通过状态流转控制单机发布的 5 个步骤和发布批次。这 部分你需要注意的是,堡垒批次不同于其他批次:堡垒批次中 DeploymentTarget 的 Chain 的 最后一个子任务是 Verify 点火,而不是 Markup。
最后,一款出色的发布系统,除了要考虑架构、核心模型,以及发布流程的问题外,还必须同时考虑的一些附加问题,比如:
为了降低 Quick and Dirty 方式对业务功能的影响,你需要提供发布刹车机制;
利用分布式存储、尾单加速、symlink 回滚等方式,可以提升发布速度;
必要的降级机制,可以保证发布系统的高可用。
