JSON是一种轻量级的数据传输格式,被广泛应用于当前Web应用中。JSON格式数据的编码和解析基本在所有主流语言中都被实现,所以现在大部分前后端分离的架构都以JSON格式进行数据的传输。
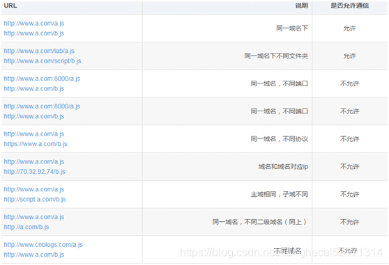
JavaScript的同源策略:只有协议+主机名+端口号 (如存在)相同,则允许相互访问。也就是说JavaScript只能访问和操作自己域下的资源,不能访问和操作其他域下的资源。比如www.aa.com下的一个页面,其中的ajax请求是不允许访问www.bb.com这样一个页面的。
跨域问题是针对JS和ajax的,html本身(比如a标签、script标签、甚至form标签(可以直接跨域发送数据并接收数据)等)没有跨域问题,。
跨域示例:
ajax请求受同源策略影响,不允许进行跨域请求,而script标签src属性中的链接却可以访问跨域的js脚本,利用这个特性,服务端不再返回JSON格式的数据,而是返回一段调用某个函数的js代码,在src中进行了调用,这样实现了跨域。
JSONP(JSON with Padding)是一个非官方的协议,它允许在服务器端集成Script tags返回至客户端,通过javascript callback的形式实现跨域访问(这仅仅是JSONP简单的实现形式)。JSONP是一种script tag的注入,将server返回的response添加到页面实现特定功能。
示例:
-
服务器端代码
@WebServlet(urlPatterns = "/jsonServlet") public class JsonServlet extends HttpServlet { @Override protected void doGet(HttpServletRequest request, HttpServletResponse response) throws ServletException, IOException { PrintWriter out = response.getWriter(); String cb = request.getParameter("cb"); out.print(cb+"({\"name\":\"zhangsan\",\"age\":19});"); } } -
客户端实现一:JavaScript实现
DOCTYPE html> function fun(){ window.location.href="http://localhost:8080/jsonServlet?cb=jsonpCallback"; } function jsonpCallback(json){ alert("name:" + json.name + " age:" + json.age); } fun -
客户端实现二:JQuery的getJSON实现
DOCTYPE html> $(function() { $.getJSON("http://localhost:8080/qhdfl/jsonServlet?cb=?", function(json) { alert("name:" + json.name + " age:" + json.age); }); }); -
客户端实现三:JQuery的jsonp实现
DOCTYPE html>
$(function(){
$.ajax({
type:"get",
url:"http://localhost:8080/qhdfl/jsonServlet",//跨域URL
dataType:"jsonp", //数据格式设置为jsonp
jsonp:"cb", //自定义参数的名称
jsonpCallback:"jsonpCallback",//自定义回调函数名称
success:function(res){//成功的回调函数
alert("name:" + res.name + " age:" + res.age);
}
});
});
function jsonpCallback(json){
alert(json);
}
jsonp用来自定义参数名称:
- 不指定该参数时,JQuery会自动传递一个callback参数到后台,成功后,回调success函数。
- 指定该参数自定义参数名称时,后台需要指定接受通过jsonp冒号传递的函数名称。执行成功后,先执行jsonpCallback定义的回调函数,后执行success函数。
添加响应头,允许跨域
addHeader(‘Access-Control-Allow-Origin:*’);//允许所有来源访问
addHeader(‘Access-Control-Allow-Method:POST,GET’);//允许访问的方式
-
服务器端代码
@WebServlet(urlPatterns = "/jsonServlet") public class JsonServlet extends HttpServlet { @Override protected void doGet(HttpServletRequest request, HttpServletResponse response) throws ServletException, IOException { /**设置响应头允许ajax跨域访问**/ response.setHeader("Access-Control-Allow-Origin","*"); /*星号表示所有的异域请求都可以接受,*/ response.setHeader("Access-Control-Allow-Methods","GET,POST"); PrintWriter out = response.getWriter(); out.print("{\"name\":\"zhangsan\",\"age\":19}"); } } -
客户端代码
DOCTYPE html> $(function(){ $.ajax({ type:"get", url:"http://localhost:8080/qhdfl/jsonServlet",//跨域URL dataType:"json", //数据格式设置为json success:function(res){//成功的回调函数 alert("name:" + res.name + " age:" + res.age); } }); });
服务器A的test01.html页面想访问服务器B的后台action,返回“test”字符串,此时就出现跨域请求,浏览器控制台会出现报错提示,由于跨域是浏览器的同源策略造成的,对于服务器后台不存在该问题,可以在服务器A中添加一个代理action,在该action中完成对服务器B中action数据的请求,然后在返回到test01.html页面。
